INTRODUCCION
En la época en la que nos encontramos, la sedestación se ha convertido en uno de los rasgos más característicos de la sociedad industrial actual. Comúnmente se ha relacionado la aparición de dolor y disconfort durante la sedestación con la mala relación entre las dimensiones antropométricas del hombre y las de su puesto de trabajo, llegando incluso a provocar desórdenes musculares crónicos. Los niños son un grupo de riesgo por la gran diversidad de dimensiones antropométricas que presentan, el tiempo prolongado que pasan en postura sedente y la inadecuación del mobiliario escolar1. Este aspecto, tan importante para la prevención y promoción de la salud, ha llamado la atención en Inglaterra donde se está estudiando el efecto del mobiliario escolar en el comportamiento de los niños2.
La población infantil y juvenil constituye, en todos los países desarrollados, el sector más numeroso de personas que realizan unas tareas muy similares en condiciones casi idénticas: actividades escolares y de estudio en la postura sedente3. Es en el colegio donde los niños pasan más tiempo en sedestación, entre el 60 y 80 % del tiempo que pasan en la escuela lo dedican a actividades en dicha postura, en detrimento de las actividades físicas. Si al tiempo dedicado a su educación recibida en la escuela, le sumamos el de otras actividades como hacer los deberes, ver la televisión, ir en el autobús urbano o jugar a la videoconsola; el número total de horas en sedestación en los niños es aún más elevado.
MARCO TEORICO
Postura sedente
La postura sedente podría definirse como "una posición en la que una parte considerada del peso corporal se transfiere a una superficie de trabajo"3, o como aquella "en la que la base de apoyo del cuerpo está a medio camino entre la usada en bipedestación y la usada durante el decúbito; o sea, es mayor que en bipedestación pero menor que en decúbito y la base de apoyo está formada por la cara posterior de los muslos y pies"4.
Se describen distintos tipos de postura sedente en función de la postura que adopta el niño (anterior, media y posterior) y de la posición del raquis (flexionada y erguida)3-5. En general, la postura que adopta un niño al sentarse no sólo depende del diseño de la silla, sino también de sus hábitos y de la tarea que desempeñe.
La postura sedente anterior es la que el niño adopta en todas aquellas actividades en las que el objeto de atención se sitúa por debajo de la línea horizontal de visión (escribir en la mesa, leer...) (fig. 1A). En ella, el tronco se encuentra inclinado hacia delante y el apoyo se lleva a cabo a través de las tuberosidades isquiáticas y en la cara posterior de los muslos.
Fig. 1. Postura sedente anterior, media y posterior.
La postura sedente media es aquella que el niño adopta cuando el objeto de atención se sitúa en la horizontal de su línea de visión, por ejemplo, cuando atiende la explicación del profesor o durante una reunión (fig. 1B). Se trata de una postura inestable debido a que no existe apoyo en el respaldo por lo que el peso del tronco reposa únicamente en las tuberosidades isquiáticas, con lo que la pelvis se encuentra en anteversión dando lugar a una hiperlordosis lumbar y a un aumento de las curvas dorsales y cervicales6.
La postura sedente posterior es la que el niño adopta en actividades de mayor descanso en clase que no requieran el uso de la mesa y cuando el objeto de atención se sitúa por encima de la horizontal, proporcionando al usuario máxima comodidad y confort, por ejemplo al ver un documental en clase en un televisor sobre una estantería (fig. 1C). En esta postura el apoyo corresponde al isquion y sacro (tuberosidades isquiáticas, cara posterior sacro, cara posterior del coxis) y el centro de gravedad se sitúa detrás de las tuberosidades isquiáticas, cuya consecuencia es una retroversión de la pelvis, una inversión de la columna lumbar e incluso la caída de la cabeza hacia delante provocando una inversión de la lordosis cervical.
La postura sedente flexionada o cifótica es aquella postura en la que hay un aumento de la flexión del raquis en el plano sagital (aumento de la cifosis dorsal e inversión de la curva lumbar) junto con una retroversión de la pelvis (fig. 2A). Esta postura flexionada o cifótica, si se prolonga, repercute desfavorablemente en el individuo al sobrecargar los ligamentos posteriores de la espalda y aumentar la presión en la parte anterior del disco intervertebral6.
Fig. 2. Postura sedente flexionada y erguida.
La postura sedente erguida o lordótica es aquella en la que las curvas vertebrales se mantienen (fig. 2B), sin embargo, pese al parecer la postura fisiológica es imposible mantenerla durante mucho tiempo, ya que tal y como afirma Mandal7 normalmente da lugar a disconfort y fatiga.
Dimensiones del mobiliario
Las dimensiones que determinan una silla escolar se presentan en la figura 33,8 y son las siguientes:
(A) Altura del asiento: distancia entre el suelo y el asiento en el punto más alto de la parte delantera del mismo.
(C) Profundidad del asiento: distancia entre el borde delantero del asiento y la proyección sobre el mismo del punto más prominente del respaldo.
(D) Anchura del asiento: debe medirse en la parte posterior del mismo, a unos 15 cm del respaldo, ya que es esta la zona que se corresponde con la zona de máximo apoyo corporal sobre el asiento.
(E) Altura del apoyo lumbar: distancia entre el punto más prominente del respaldo y su proyección sobre el asiento.
(F) Anchura del respaldo: distancia horizontal entre los extremos del respaldo, en su zona de apoyo lumbar.
(G1) Altura del borde inferior del respaldo: distancia vertical entre el punto más bajo del centro del respaldo y su proyección sobre el asiento.
(G2) Altura del borde superior del respaldo: distancia vertical entre el punto medio del borde superior del respaldo y el asiento.
(a) Inclinación del asiento: es el ángulo que forma la línea media del asiento con la horizontal.
(d) ) Ángulo asiento-respaldo: ángulo formado por la línea media del asiento con la línea media del respaldo, por encima de su punto más prominente.
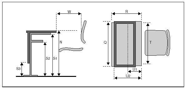
Las dimensiones significativas de las mesas son las que se presentan en la figura 4 y se definidas como3,8:
(N) Altura de la mesa: distancia entre el tablero y el suelo.
(Q) Anchura mínima del plano de la mesa: distancia entre los bordes laterales del tablero.
(R) Profundidad mínima del plano de la mesa: distancia entre el borde anterior y posterior del tablero de la mesa.
(S1) Altura libre para los muslos: distancia entre el suelo y la parte inferior del tablero.
(S2) Altura libre para las rodillas: distancia entre el suelo y la bandeja ubicada bajo la mesa.
(S3) Altura libre para las piernas: distancia entre el suelo y el tablero vertical que tapa la mesa por la parte opuesta a la del asiento.
(U1) Profundidad libre para las rodillas: distancia horizontal medida entre el borde de la mesa y el de la bandeja.
(U2) Profundidad libre para las piernas: distancia horizontal entre el borde de la mesa y el primer obstáculo con el que pueden chocar las piernas al adelantarse.
(T) Anchura libre bajo la mesa: espacio libre que queda bajo la mesa, es decir, aquel que queda entre los obstáculos laterales que puedan restringir el movimiento lateral de las piernas (patas, traviesas, etc.).
Problemas producidos por las incorrectas dimensiones del mobiliario
Las consecuencias y adaptaciones que los niños llevan a cabo como consecuencia de la utilización de mobiliario con dimensiones no recomendadas e incorrectas para su altura se resumen en las tablas 1 y 2.
OBJETIVOS
Los objetivos de este trabajo fueron los siguientes:
Analizar y valorar el mobiliario escolar (sillas y mesas) utilizado en la escuela por estudiantes de diferentes edades.
Valorar las diferencias antropométricas entre niños de diferente edad y sexo.
Observar y describir la postura sedente en estos niños durante el periodo de atención al profesor.
Relacionar la postura adoptada por los niños con las dimensiones del mobiliario utilizado.
MATERIAL Y MÉTODO
Población
La población elegida para nuestro estudio fueron escolares de entre 8 y 12 años11 pertenecientes al un colegio de Educación Infantil, Primaria y Secundaria de Salamanca.
Material y método de observación
El método de observación elegido fue el directo realizado siempre por el mismo observador. El tiempo dedicado a la observación de los diferentes cursos se estableció según del número de alumnos, de este modo las clases de 3.º y 5.º se observaron durante una hora de clase, mientras que las de 4.º y 6.º durante dos. Durante la observación se rellenó una ficha de observación (tabla 3) para cada alumno, que incluía diferentes aspectos y variables de la postura sedente, junto con el modelo de mobiliario utilizado.
Material y método de medición
Para la recogida de las distintas dimensiones de las sillas y de las mesas, definidas en el apartado del marco teórico (figs. 3 y 4), se diseñaron unas tablas (tablas 7 y 8). El material utilizado para dichas mediciones fue el siguiente: cinta métrica, regla de 50 cm, goniómetros de brazos paralelos y distintas longitudes, cuerda y rotulador.
Fig. 3. Dimensiones de las sillas.
Fig. 4. Dimensiones de las mesas.
Del mismo modo se diseñaron otras tablas (tablas 4 y 5) para la recogida de la talla de los sujetos y la medida A (fig. 5). La medida A corresponde a la distancia entre el suelo y el hueco poplíteo con zapatos, mientras que la medida B es la distancia entre el asiento y el codo en flexión. Es importante destacar que todos los niños se midieron con su calzado ya que el grosor de la suela de sus zapatos incrementa la longitud de sus piernas a la hora de sentarse, por lo que no se creyó conveniente pedir que se descalcen.
Fig. 5. Medida A-Poplíteo y Medida B-Codo.
Metodología estadística
Se utilizó el paquete estadístico SPSS versión 10.0. (Statistical Product and Service Solutions) para introducir los datos y realizar el posterior análisis estadístico de la investigación. Las variables estudiadas se presenta en la tabla 612.
RESULTADOS
Resultados descriptivos
Descripción de la muestra
El número total de alumnos estudiados fue de 68 (n = 68), de los que 17 (25 %) pertenecían a 3.er curso, 21 (30,9 %) a 4.º curso, 11 (16,5 %) a 5.º curso y los 19 (27,9 %) restantes a 6.º curso. De ellos 33 (48,5 %) eran niños y 35 (51,5 %) niñas. La edad variaba entre los 8 años y 7 meses (8,57) y 12 años y 7 meses (12,57), siendo la media de edad de 10 años y 4 meses (10,38 ± 1,244) y la mediana 10 años y 5 meses (10,24).
La talla media del total de la muestra era de 143,83 ± 11,8723 cm siendo la mínima de 116 cm y la máxima de 179 cm. La moda era 139 cm y la mediana 141 cm. La talla media de lo s niños (144,74 cm) era ligeramente mayor a la de las niñas (142,98 cm) siendo la desviación típica en cada caso similar (± 11,08 y ± 12,67 respectivamente). En 3.er curso los niños eran más altos que las niñas y existía una mayor homogeneidad en las tallas. En 4.º no había diferencias significativas en la talla en ambos sexos, mientras que en 5.º y 6.º curso las niñas eran más altas que los niños. Para establecer la variable altura se dividieron a los niños de cada curso según la talla en tres grupos: altos, medianos y bajos. Los resultados se reflejan en la tabla 4.
La media de la medida A-poplíteo era de 39,87 ± 4,3296 cm y la mediana de 39 cm. El valor mínimo encontrado en los alumnos que formaron parte del estudio fue de 23,5 cm y el valor máximo de 49 cm. Si atendemos a los resultados en cada uno de los cursos, observamos que las medidas de 3.er curso fueron similares a las de 4.º curso, mientras que las de 5.º curso lo eran a las de 6.º curso, existiendo una diferencia notable entre ambos casos. Para operar con esta variable se dividió a los niños de cada curso en dos grupos: niños con piernas cortas y niños con piernas largas. Los resultados fueron los que se reflejan en la tabla 5.
La media de la medida B-codo fue 22,14 ± 4,3296 cm y la mediana de 22,4 cm, el valor máximo fue 30,5 cm y el mínimo de 9 cm. La moda fue 25,5 cm. Al observar los resultados de la medida B en cada curso, aparecía un hecho significativo, la mayor media de la medida se registraba en 4.º curso mientras que la menor media aparecía en 6.º curso. Las mayores diferencias entre sexos se registraban en los cursos de 4.º y 5.º donde las niñas tenían valores más elevados que los niños. Sin embargo en 3.er y 6.º curso, pese a registrarse valores similares en ambos sexos, era mayor la media en los niños que en las niñas.
Descripción del mobiliario
Se han encontrado 5 modelos de sillas diferentes, denominadas en orden creciente según su tamaño como A, B, C, D, y E. Sus dimensiones, descritas en la figura 3, se reflejan en la tabla 7 junto al curso en el que se encontraron.
Por otro lado se encontraron dos tipos de mesas en las diferentes clases cuyas dimensiones, según fueron definidas en el marco teórico (fig. 4), se reflejan en la tabla 8.
Descripción de la postura
Los resultados descriptivos obtenidos de la observación realizada a los diferentes alumnos según las variables que definen la postura sedente se reflejan en la tabla 9.
La tabla 10 presenta la utilización de silla y mesa según la talla y el curso.
Resultados inferenciales
Comparación de la altura y el sexo de los alumnos con la silla utilizada
Respecto al sexo masculino, todos los niños de 3.er y 4.º curso (bajos, medianos y altos), excepto dos (uno de 3.º y otro de 4.º), utilizaban el mismo tipo de silla, la silla A, que era la más pequeña. En los cursos de 5.º y 6.º usaban las sillas mayores, sillas D y E, no observándose relación alguna entre la altura de los niños en estos cursos y la silla que utilizaban. Por otro lado en el sexo femenino, la utilización de los distintos modelos de silla era similar. Las niñas de 3.er y 4.º curso (bajas, medianas y altas) utilizaban la silla A, si bien, aparecía una niña de 3.er curso que utilizaba la silla B, y tres niñas (dos de 3.º, mediana y alta, y una de 4.º, mediana) que utilizaban la silla C. En 5.º curso, todas las niñas (altas) utilizaban en similar proporción las sillas D y E, mientras que en 6.º curso, todas las niñas (medianas y altas) excepto dos (medianas), usaban la silla E (tabla 10).
Para los niños se obtuvo un Chi-cuadrado de Pearson no significativo estadísticamente (V: 51,085 [40]; p = 0,112), de lo que se interpretó que las variables altura y modelo de silla no estaban relacionadas, es decir, la altura de los niños no se debió tener en cuenta a la hora de escoger el modelo de silla. Sin embargo, para las niñas se obtuvo un Chi-cuadrado de Pearson significativo (V: 47,924 [32]; p = 0,035); por lo que desde el punto de vista estadístico si se establecía una relación entre la altura de las niñas y el modelo de silla que utilizaban.
Comparación de la altura y el sexo de los alumnos con la mesa utilizada
En el sexo masculino, todos los niños de 3.º (medianos y altos) y todos menos tres de 4.º curso (bajos, medianos y altos) utilizaban el mismo tipo de mesa (mesa A). El resto de los niños, los 3 de 4.º curso (altos) y todos los de 5.º y 6.º (bajos, medianos y altos) usaban la mesa B. Del mismo modo en el sexo femenino la distribución es similar, todas las niñas de 3.º (bajas, medianas y altas) y las de 4.º (bajas, medianas y altas) utilizaban la mesa A, mientras que el resto, las niñas de 5.º y 6.º curso (medianas y altas) usaban la mesa B (tabla 10).
En las pruebas de Chi-cuadrado de Pearson con las variables Altura-Mesa-Sexo obtuvimos como resultado relaciones significativas tanto en el sexo masculino (V: 26,717 [10]; p = 0,05) como en el femenino (V: 35,000 [8]; p = 0,000), de lo cual deducimos que la altura de los alumnos si se pudo tener en cuenta a la hora de elegir y distribuir las mesas.
Comparación de la medida poplíteo y el sexo de los alumnos con la silla
Los niños de 3.er y 4.º curso, con piernas cortas y largas, utilizaban la silla A, excepto uno de 3.º con piernas largas que utilizaban la silla B y uno de 4.º (con piernas largas) que utiliza la silla C. Los niños de 5.º curso con piernas cortas utilizaban preferentemente la silla D, mientras que los de piernas largas utilizaban la silla E. Los niños de 6.º curso tanto con piernas cortas como largas usaban preferentemente la silla E. Por otro lado, en el sexo femenino la distribución era semejante, si bien, las niñas de 3.er curso, pese a que utilizaban preferentemente la silla A, había una con piernas cortas utilizaba la silla C y dos con piernas largas que utilizaban la silla B y C, respectivamente. La distribución en 4.º, 5.º y 6.º curso era igual a la comentada para el sexo masculino.
Los resultados de las pruebas de Chi-cuadrado de Pearson con las variables Poplíteo-SillaSexo reflejan relaciones muy significativas entre estas variables en ambos sexos (sexo femenino V: 60,494 [28]; p = 0,000; sexo masculino V: 50,618 [24]; p = 0,001).
Comparación de la postura sedente con el mobiliario utilizado
En el análisis de las distintas variables definidas en la postura (tabla 4) con el modelo de silla utilizada destacamos los siguientes resultados:
Respecto a la postura adoptada, en 3.er curso los alumnos que utilizaban la silla A en mayor frecuencia adoptaban una postura sedente anterior, mientras que aquellos niños de 4.º que utilizaban la misma silla mantenían en mayor frecuencia una postura sedente media. Los alumnos de 5.º que usaban la silla D mostraban una postura sedente media, mientras que los de 6.º adoptaban en la misma frecuencia la postura medida y la anterior.
En cuanto a la posición de la columna, en los alumnos de 4.º curso la postura erguida era más frecuente entre los que utilizaban la silla A, mientras que aquellos que utilizaban la silla C adoptaban posturas flexionadas. Por otro lado los niños de 5.º y 6.º curso, tanto los que utilizaban una silla D como los que usaban una silla E, mantenían en mayor frecuencia una postura flexionada. En la prueba de Chi-cuadrado con estas variables en la clase de 4.º curso se obtuvo un valor de 3,592 (gl = 1, p = 0,05) significativo, por lo tanto en esta clase la posición de la columna estaba relacionada con el tipo de silla utilizada.
Para la variable apoyo de los pies en el suelo se obtuvo que casi el 70 % de los alumnos de 4.º curso, que utilizaban la silla A, apoyaban la planta del pie en el suelo, mientras que en 3.er curso, pese a que el apoyo de las plantas era el más frecuente (31 %) en la distribución de los apoyos, aparecían con frecuencia relevante los niños que apoyan las punteras (23 %) y la parte externa de los pies (23 %). Los alumnos de 5.º curso que usaban la silla D mantenían en mayor frecuencia el apoyo de la planta del pie, mientras que los que utilizaban la silla E apoyaban las punteras o les colgaban los pies. Por último los alumnos de 6.º curso, tanto los que utilizaban la silla D como los que usaban la silla E apoyaban en mayor frecuencia la planta del pie.
En el apoyo sobre el asiento destacar que los alumnos de 3.er curso (bajos, medianos y altos) que utilizaban una silla A realizaban el apoyo por la mitad del asiento, mientras que los de 4.º (bajos, medianos y altos), que utilizaban este tipo de silla, lo hacían más frecuentemente al fondo del mismo. Por otro lado, todos los alumnos de 3.er y 4.º curso (medianos y altos) que utilizaban la silla C se sentaban al fondo del asiento. Los alumnos de 5.º curso (mayoría de altos) y los de 6.º curso (bajos, medianos y altos) que utilizaban la silla D se sentaban, con mayor frecuencia, al fondo del asiento, mientras que los alumnos de 5.º curso que utilizaban la silla E en mayor frecuencia lo hacían en la mitad del mismo (bajos, medianos y altos).
Con relación a la forma de utilización del respaldo, hemos observado que los alumnos de 3.er curso que utilizaban la silla A en mayor frecuencia no hacían uso del respaldo, mientras que los de 4.º lo hacían de una manera correcta. Por otro lado, los alumnos de 3.er curso que utilizaban la silla B tampoco hacían uso del respaldo, mientras los que utilizaban la silla C lo usaban de manera correcta, sin embargo los alumnos de 4.º curso que utilizaban esta misma silla no hacían uso del mismo. Los alumnos de 5.º curso que usaban la silla D en mayor frecuencia no utilizaban el respaldo, mientras que los de 6.º lo hacían correctamente. Todos los niños de 5.º curso que usaban la silla E, utilizaban el respaldo de manera incorrecta, bien no haciendo uso de él o desplomándose sobre el mismo, mientras que los de 6.º curso, aunque con mayor frecuencia no lo utilizaban, un alto porcentaje lo hacían de forma correcta.
La prueba de Chi-cuadrado es estadísticamente significativa (V: 11,115 [4]; p = 0,025) para el curso de 3.º donde hay una relación entre la utilización del respaldo y el tipo de silla.
Y por último respecto a la flexión de rodillas los alumnos de 3.er y 4.º curso que utilizaban una silla A en mayor frecuencia flexionaban las rodillas más de 90 grados, mientras que aquellos de 3.º que utilizaban la silla C mantenían una flexión de 90 grados. Por otro lado, los alumnos de 5.º y 6.º curso que hacían uso de una silla D en mayor frecuencia flexionaban las rodillas menos de 90°.
DISCUSION
Los alumnos de distinto curso y de distintas dimensiones antropométricas que utilizaban el mismo mobiliario, presentaban diferencias en las distintas variables definidas en la postura sedente como era la posición en sedestación, el apoyo de los pies en el suelo, el apoyo sobre el asiento y la utilización del respaldo.
En general se han observado relaciones estadísticamente significativas entre la altura de los sujetos y la distribución de los distintos modelos de sillas y mesas, lo que sugiere que los profesores podrían tener en cuenta la altura de los alumnos a la hora de distribuir el mobiliario que se encuentra en la clase.
Hemos encontrado relaciones significativas entre la postura adoptada por los niños en la escuela durante el periodo de atención al profesor y el tipo de silla utilizada. El hecho de que no todos los alumnos encuentren aceptable el mobiliario provoca que adopten y mantengan diferentes posturas sedentes y adaptaciones a las mismas1.
La adopción de posturas diferentes a las recomendadas1,3,8,10,13,14 puede ser debido a la utilización de un mobiliario no recomendado para la altura de los sujetos. De hecho, y por ejemplo, el modelo de silla A debería estar más recomendada para los alumnos de 4.º curso que para los de 3.º, ya que son los primeros los que adoptan con mayor frecuencia posturas que se aproximan a las recomendadas (postura sedente media, posición erguida de la columna vertebral, pies apoyados en el suelo y utilización del respaldo).
Tal y como señalan algunos autores1, los alumnos que están sentados en sillas demasiado altas o profundas tienden a sentarse al borde del asiento y a no hacer uso del respaldo.
AGRADECIMIENTOS
Muchas gracias:
A todos los profesores y los alumnos del Colegio Público "José Herrero" de Salamanca por su colaboración y participación en la realización de este trabajo.
A la dirección del centro por su buena predisposición hacia el mismo.
Al fisioterapeuta D. Julio González Reyero, profesor asociado de nuestra escuela y mediador en el contacto con la dirección del centro.
















