Mujer de 42 años, fumadora desde los 20 años sin antecedentes personales, familiares ni traumáticos de interés. Actualmente, acude por cuadro catarral febril de varios días de evolución. Presenta dolor toraco-abdominal derecho sin disnea, de características pleuríticas, refractario a ibuprofeno.
ResultadosSe realizó radiografía de tórax visualizando varios micronódulos pulmonares. Dado su antecedente tabáquico y dolor toraco-abdominal refractario a analgesia, se realiza una tomografía computarizada (TC) toraco-abdomino-pélvica para una mejor caracterización. En el TC las imágenes micronodulillares pulmonares no impresionan de carácter maligno, pero dada la presencia de múltiples lesiones osteoesclerosas infiltrativas enostóticas en esqueleto axial (visualizadas incidentalmente en TC toraco-abdomino-pélvica con ventana ósea), se aconseja complementar con un estudio metabólico/funcional, dada la razonable sospecha de metástasis óseas secundarias a cáncer de pulmón.
El estudio metabólico/funcional mostró una hipocaptación global, lo que permite descartar posibles metástasis óseas, y orienta hacia otras patologías benignas como osteopoiquilosis.
ConclusionesLa osteopoiquilosis es un hallazgo casual y raro que debe incluirse en el diagnóstico diferencial de múltiples imágenes osteoesclerosas, evitando su confusión con entidades malignas.
A 42-year-old woman, a smoker since her twenties, without any personal, family or traumatic history of interest. Currently, she consults with a cold like symptoms with fever that has lasted for several days. She had right chest and abdominal pain without dyspnea, with pleuritic characteristics. refractory to ibuprofen.
ResultsA chest x-ray was performed showing several pulmonary micronodules, which, added to her smoking history and refractory thoraco-abdominal pain, prompted a thoraco-abdomino-pelvic computerized tomography (CT). On CT, the pulmonary micronodular images do not appear to have a malignant behavior, but since they are associated with multiple enostotic infiltrative osteosclerotic lesions in the axial skeleton (incidentally seen on thoraco-abdomino-pelvic CT with bone window), their better characterization with a metabolic study is recommended, given the reasonable suspicion of bone metastases secondary to lung cancer. In the metabolic/functional extension study, a global hypouptake was obtained, reasonably ruling out the possibility of bone metastases, and directing diagnostic suspicions towards other benign possibilities such osteopoikilosis.
ConclusionsOsteopoikilosis is a casual and rare finding that should be included in the differential diagnosis of multiple osteosclerotic images, and not be confused with malignant entities.
La palabra osteopoiquilosis deriva del griego “osteo” hueso y “poikilos” manchado. Se trata de una osteocondrodisplasia esclerosante benigna muy infrecuente (prevalencia mundial: 5/100 000) de herencia autosómica y etiología incierta1. La evolución natural de la osteopoiquilosis es hacia la persistencia, sin otras complicaciones. El manejo es conservador, ya que son lesiones de “ver y no tocar”. Sin embargo, la biopsia aportaría el diagnóstico definitivo en los casos más dudosos. En ella, se verían condensaciones focales de hueso lamelar compacto de disposición concéntrica a los canales vasculares con líneas de cementación que no cambian cuando ha finalizado la etapa de crecimiento, y maduración ósea definitiva, todo ello en el interior de la capa esponjosa.
Este trabajo tiene por finalidad destacar la presentación clínico-radiológica de la osteopoiquilosis, dando énfasis en que se trata de un hallazgo radiológico incidental. Además, dada su benignidad, es muy importante no confundirla con lesiones osteoescleróticas indicativas de malignidad como las metástasis osteoblásticas, para evitar así una espiral de “encarnizamiento terapeútico” que resulta altamente perjudicial para el paciente, y que lamentablemente ocurre más de lo deseado en la práctica clínica.
Caso clínicoSe reporta el caso de una mujer de 42 años, fumadora desde los 20 años, que presenta catarro febril de varios días de evolución, con tos productiva, siendo tratada con acetilcisteína. Presenta dolor costal derecho de características pleurales que no presenta mejoría con la administración de ibuprofeno, sin disnea ni palpitaciones. No refiere esfuerzos ni traumas previos.
Como antecedente presenta episodio hace cinco meses atrás de sospecha de neumonía con radiografía de tórax con hallazgo de imágenes nodulares parahiliares izquierdas. Pensando en posible patología neoplásica se realizó una TC que concluyó que los nódulos eran de improbable traducción clínica debido a que resultaban ser un hallazgo incidental además de no existir dolor ni otros síntomas típicos de un posible cáncer pulmonar, así como tampoco alteraciones de laboratorio.
En los exámenes de laboratorio, no se observa alteración de parámetros sugerentes de una enfermedad ósea maligna presentando solo hiperglicemia de 111mg/dl (VN: 74-100mg/dl) e hipercolesterolemia de 279mg/dl (VN: 110-200mg/dl). Hemograma y estudio metabolismo del hierro normales.
Dado el antecedente tabáquico y dolor torácico refractario, se solicita radiografía de tórax que presentó imágenes nodulares parahiliares izquierdas, por lo que se solicitó una tomografía computarizada (TC) toraco-abdomino-pélvica para mejor caracterización de dichos nódulos y para descartar lesiones focales abdomino-pélvicas que justificaran el dolor abdominal.
En los cortes torácicos, presentó signos de bronquiolitis respiratoria crónica no consolidativa, sin cambios significativos del estudio toraco-abdomino-pélvico previo respecto al actual, con diferencia de 5 meses entre ambos.
En los cortes abdominales, no se evidenciaron hallazgos patológicos de interés.
En los cortes pélvicos, se evidenciaron múltiples lesiones escleróticas (ya descritas en la TC previa), sin hallazgos de tumor primario. Como hallazgos radiológicos principales se apreciaron múltiples focos escleróticos endomedulares metafisoepifisiarios, con márgenes bien definidos, de distinto número y tamaño (sin llegar a superar el centímetro) acetabulares, ilíacos bilaterales y sacros sin disrupción cortical ni compromiso de partes blandas adyacentes; todos, hallazgos radiológicos no agresivos. Dichas enostosis presentaban agrupación periarticular, encontrándose estables en número y tamaño con respecto a la TC anterior. Los hallazgos sugerían displasia osteoesclerosante, a valorar la osteopoiquilosis. Figura 1.
Estas imágenes, que no presentan captaciones patológicas metastásicas, sugieren naturaleza benigna de las lesiones óseas de nuestra paciente.
DiscusiónEn radiografía simple, en la osteopoiquilosis se identifican numerosas imágenes radiopacas o esclerosas, pequeñas, homogéneas, bien definidas y longitudinales o circulares (según la definición trabecular de la porción esponjosa del hueso). Están agrupadas en regiones periarticulares paralelas a las trabéculas circundantes. Son, por lo tanto, predominantemente longitudinales en las áreas trabeculares lineales bien definidas, mientras que son más bien circulares en áreas trabeculares peor definidas. En nuestra paciente, no existían manifestaciones clínicas relacionadas, tampoco se evidenciaron lesiones cutáneas. Se solicitó radiografía de columna lumbar, pudiendo comprobarse lesiones sacras y en otras localizaciones2.
En la TC, la osteopoiquilosis presenta múltiples focos enostóticos subcentimétricos (5-10mm), simétricos, metafisoepifisiarios en huesos largos, respetando cráneo y esqueleto axial. Por lo general, no suele presentar deformidad o malformación de estructuras óseas y ello genera un debate abierto sobre si resulta del todo apropiado incluirla dentro del grupo de las osteocondrodisplasias, ya que en estas sí es frecuente encontrar deformidad o malformaciones óseas3.
No es posible distinguirla de otras lesiones osteoblásticas exclusivamente según su valor de atenuación, ya que esta medición lo único que nos indica es que las lesiones tienen la misma atenuación que el calcio, per, no especifican si son benignas, malignas, tumorales o infecciosas. Es por ello que cobran especial importancia otros factores clave como son el contexto clínico, la exploración física y el resultado del resto de las pruebas complementarias (pruebas de laboratorio y de imagen) al tratarse de un diagnóstico de exclusión.
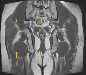
La resonancia magnética (RM) define mejor las características lesionales. Generalmente, se observan lesiones hipointensas no expansivas homogéneas en el tejido endomedular. En la RM abdomino-pélvica realizada posteriormente para ampliar estudio, la paciente presentó lesiones de baja intensidad de señal en secuencias potenciadas en T1 y T2 (hueso denso maduro), que no restringían el movimiento browniano a la libre difusión de las partículas de agua (figura 2). No captaban ningún tipo de contraste (gadolinio ni yodo) en la RM ni en los estudios funcionales de Medicina Nuclear, como gammagrafía ósea y PET-TC. Por dichas características y dada la estabilidad radiológica, se descarta el diagnóstico de metástasis óseas, corroborando la naturaleza benigna de dicho proceso. Se evalúa como diagnóstico diferencial el que se trate de una enostosis múltiple dentro del amplio espectro de enfermedades que plantean las displasias osteoesclerosas, con alta probabilidad de que se trate de una osteopoiquilosis4. Figuras 3 y 4.
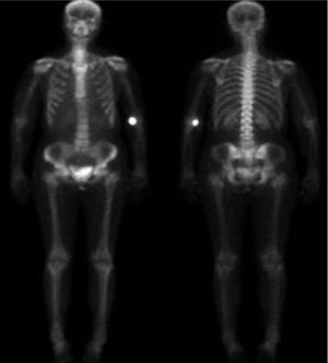
Gammagrafía ósea en 2 proyecciones: anterior y posterior.
En ella, no se aprecia hipercaptación de los focos de enostosis ósea anteriormente descritos. Sin embargo, se ve un punto hipercaptante en fosa antecubital izquierda, que es por donde se ha inyectado el radiotrazador; así como en la vejiga, dada su eliminación por orina, sin constituir por ello, puntos de hipercaptación patológica.
Tomografía por emisión de positrones (PET/TC) con fluorodesoxiglucosa F-18 (FDG) de cuerpo entero con reconstrucción con proyección de máxima intensidad (MIP), coronal y axial fusionados
Se aprecian focos de captación fisiológica como son cerebro, corazón, ambos riñones y vejiga y ausencia de captaciones ósea patológicas, lo que lo diferencia de metástasis u otras enfermedades óseas sugerentes de malignidad.
Estas malformaciones se originan en la etapa infantil (raramente antes de los 3 años) y persisten de manera silente a lo largo de la vida. Ello explica que su diagnóstico se realice de forma incidental al realizar pruebas de imagen por otros motivos. Como se ha comentado, lo normal es que sea asintomática, sin embargo, puede presentar síntomas entre los que destacan el dolor crónico. Es así como se ha visto en varios estudios que cerca de un 20% de los pacientes con osteopoiquilosis, pueden tener una manifestación moderada de dolor y derrame articular, provocado por un aumento en la condensación ósea a causa del estado hipermetabólico que ello conlleva. Este estado hipermetabólico del hueso es la principal hipótesis de la aparición de síntomas, como el dolor crónico5.
Al ser un síndrome genético con penetrancia variable, puede aparecer aislada o asociada a otras malformaciones genéticas (como en el gen LEMD3) además de las óseas. Presenta manifestaciones principalmente cutáneas (dermatofibrosis lenticularis), cardíacas (coartación de aorta) y renales (duplicidad ureteral), pero también endocrinas, faciales (dacriocistitis) y reumáticas (artrititis, lupus, fiebre mediterránea familiar). Cuando asocia pápulas esclerodermiformes redondas/ovaladas simétricas (dermatofibrosis lenticular diseminada) de color blanco-amarillento en región lumbar, glútea y de manera mucho más infrecuente los brazos, en cuyo caso se conoce como síndrome de “Buschke-Ollendorf”. Asimismo, se ha descrito su asociación con otras afectaciones dermatológicas (elastomas juveniles, léntigos, fibromas orales, queratomas palmoplantares y predisposición a la formación de queloides)4,5.
Entre el amplio espectro de lesiones que se asemejan a la osteopoiquilosis, caben destacar:
ConclusionesLa osteopoiquilosis supone un hallazgo radiográfico incidental, que se encuentra en personas asintomáticas que se realizan una prueba de imagen por otro motivo. Se debe incluir en el amplio diagnóstico diferencial de imágenes osteoesclerosas múltiples y no debe confundirse con otras condiciones malignas de peor pronóstico y distinta actitud terapeútica, como por ejemplo las metástasis óseas.
No es necesaria la biopsia ósea para llegar a un diagnóstico certero. Podemos apoyarnos en las características radiológicas y tomográficas evaluadas en detalle por radiólogos de experiencia o subespecialistas en un contexto clínico de hallazgo imagenológico incidental y frente a la duda, con pruebas funcionales y metabólicas.
Consideraciones éticasNo se ha llevado a cabo experimentación con animales ni seres humanos.
Se respeta la privacidad y confidencialidad de los datos, siguiendo el protocolo de nuestro centro, así como contamos con el consentimiento del paciente para publicar este artículo con imágenes.
Conflicto de interésLos autores declaran no tener conflictos de intereses.





