In the article «A pre-seasonal birch/hazel sublingual immunotherapy can improve the outcome of grass pollen injective treatment in bisensitized individuals. A case-referent, two year controlled study», published in the number of January-February, 2003 of this journal, there was the next errors:
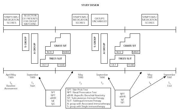
Page 34: Study design. The correct figure is:
Page 39: title to table V missing, correct title: Evolution of specific-IgE and -IgG in two treated groups (means values +/ SD). (IgE values = RAST Units IgG values = Densitometric Units).
Page 40: in "Aspecific Bronchial Hyperresponsiveness (aBHR)" Fist line: "...PD20 (298 mg methacholine..." not (g.
Third line: "...559 mg methacholine...", not (g.
Page 41: Column 2 line 21: "...grass extract (table III)...", not table V.



